
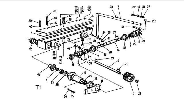
|
№№. |
Наименование части |
Символ KTM |
Кол-во, штук |
| Приводной вал, комплект (позиции 8,9,10,11,12,21,24,25,26,28) | 8245-036-010-248 | 1 | |
| 1 | Регулирующая шайба d 25x35x0,1 | 8245-036-010-098 | по |
| Регулирующая шайба d 25x35x0,3 | 8245-036-010-105 | необ. | |
| Регулирующая шайба d 25x35x0,5 | 8245-036-010-118 | ||
| Регулирующая шайба d 25x35x1,0 | 8245-036-010-120 | ||
| 2 | Корпус подшипника левый | 8245-036-010-187 | 1 |
| 3 | Корпус подшипника правый | 8245-036-010-190 | 1 |
| 4 | Крышка коробки передач | 8245-036-010-658 | 1 |
| 5 | Уплотнитель | 8245-036-010-210 | 1 |
| 6 | Коробка передач | 8245-036-010-810 | 1 |
| 7 | Тяга, комплект | 8245-105-000-021 | 1 |
| 8 | Малый ремённый шкив Dp=132 | 8245-036-010-250 | 1 |
| 9 | Приводной вал | 8245-036-010-263 | 1 |
| 10 | Втулка | 8245-036-010-276 | 1 |
| 11 | Задняя панель | 8245-036-010-289 | 1 |
| 12 | Несущая втулка | 8245-036-010-291 | 2 |
| 13 | Уплотняющая втулка | 8245-036-010-337 | 8 |
| 14 | Приводной вал | 8245-036-010-352 | 1 |
| 15 | Коническое колесо большое, комплект | 8245-036-010-673 | 3 |
| 16 | Коническое колесо малое, комплект | 8245-036-010-066 | 1 |
| 17 | Клапан | 8245-036-010-044 | 1 |
| 18 | Шайба | 8245-036-010-053 | 1 |
| 19 | Втулка 13x14 | 8245-036-010-719 | 1 |
| 20 | Призматический шпунт A8x7x36 | PN-70/M-85005 | 1 |
| 21 | Призматический шпунт A8x7x50 | PN-70/M-85005 | 4 |
| 22 | Шарикоподшипник 6205 | PN-85/M-86100 | 1 |
| 23 | Шарикоподшипник 6305 | PN-85/M-86100 | 1 |
| 24 | Шарикоподшипник 6305 2Z | PN-85/M-86100 | 1 |
| 25 | Радиально-упорный шарикоподшипник B 7305 | PN-87/M-86160 | 1 |
| 26 | Стопорное пружинящее кольцо Z25 | PN-81/M-85111 | 1 |
| 27 | Стопорное пружинящее кольцо W62 | PN-81/M-85111 | 1 |
| 28 | Уплотняющее кольцо A25x52x7 | PN-72/M-86964 | 1 |
| 29 | Винт M10x60-8.8-A-Fe/Zn8c | PN-85/M-82101 | 4 |
| 30 | Винт M10x20-8.8-A-Fe/Zn8c | PN-85/M-82101 | 14 |
| 31 | Винт M10x25-8.8-A-Fe/Zn8c | PN-85/M-82101 | 8 |
| 32 | Винт M10x30-8.8-A-Fe/Zn8c | PN-85/M-82101 | 5 |
| 33 | Винт M10x35-8.8-A-Fe/Zn8c | PN-85/M-82101 | 8 |
| 34 | Пружинная шайба 12,2-Fe/Zn5 | PN-77/M-82008 | 5 |
| 35 | Винт M12x25 -8.8-A-Fe/Zn8c | PN-85/M-82101 | 4 |
| 36 | Винт M12x30-8.8-A-Fe/Zn8c | PN-85/M-82101 | 1 |
| 37 | Гайка a M10 - 8-A-Fe/Zn8c | PN-86/M-82144 | 25 |
| 38 | Гайка M12 - 8-A-Fe/Zn8c | PN-86/M-82144 | 1 |
| 39 | Цилиндрический штифт 6x16-A | PN-89/M-85021 | 4 |
| 40 | Пружинная шайба 10,2-Fe/Zn5 | PN-77/M-82008 | 35 |
| 41 | Подкладка с двумя отверстиями, отгибающаяся | 8245-036-010-632 | 1 |
| 42 | Подкладка с двумя отверстиями, отгибающаяся | 8245-036-010-632 | 1 |
| 43 | Круглый отражатель O-III-I-II-72KM (оранжевый) | PN-80/S-83100 | 2 |
Безналичный расчёт
Наличный расчёт
Наложенный платеж
Предоплата
Новая Почта
Самовывоз
Интайм
Автолюкс
Гюнсел
Ночной Экспресс
Повернення і обмін
Відповідно до закону України «про захист прав споживачів» ви можете протягом 14 днів з моменту покупки повернути або обміняти товар, придбаний в магазині, за умови виконання всіх норм передбачених законом. Умови обміну / повернення товару належної якості стаття 9. Відповідно до закону України «про захист прав споживачів»: споживач має право обміняти непродовольчий товар належної якості на аналогічний у продавця, у якого він був придбаний, якщо товар не задовольнив його за формою, габаритами, фасоном, кольором, розміром або з інших причин не може бути ним використаний за призначенням. Споживач має право на обмін товару належної якості протягом чотирнадцяти днів, не рахуючи дня покупки. споживач (термін вживається в такому значенні згідно статті 1. п.22 закону України «про захист прав споживачів») – фізична особа, яка купує, замовляє, використовує або має намір придбати чи замовити продукцію для особистих потреб, не пов’язаних з підприємницькою діяльністю або виконанням обов’язків найманого працівника. обмін або повернення товару належної якості провадиться: якщо не використовувався; якщо збережено його товарний вигляд, споживчі властивості, пломби, ярлики; на підставі розрахунковий документ, виданий споживачеві разом з проданим товаром. умови обміну / повернення товару неналежної якості стаття 8. Згідно із законом України «про захист прав споживачів»: в разі виявлення протягом встановленого гарантійного строку недоліків споживач, в порядку та в строки, встановлені законодавством, має право вимагати безоплатного усунення недоліків товару в розумний строк. вимоги споживача, передбачених цією статтею, не підлягають задоволенню, якщо продавець, виробник (підприємство, що задовольняє вимоги споживача, встановлені частиною першою цієї статті) доведуть, що недоліки товару виникли внаслідок порушення споживачем правил користування товаром або його зберігання. Споживач має право брати участь у перевірці якості товару особисто або через свого представника.