Сівалка ручна "Вінниця" ― призначена для пунктирного та гніздового посіву насіння овочевих і бахчових культур, як-от огірки, томати, буряк, цибуля, редис, морква, кавуни, дині.
Характерна особливість її це простота та легке обслуговування, а спеціальна конструкція сіяльного апарату запобігає пошкодженню насіння.
Під час використання цієї сівалки насіння розміщується безперервно в ряді також є можливість гніздового посіву, це коли насіння потрапляє в ґрунт на певній відстані залежно від роздільного диска.
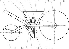
Cівалка овочева однорядна складається з несучої рами 9, що представляє собою дві паралельні планки, на якій закріпленні: у передній частині ― опорно-привідне колесо 8; у середній частині ― щітковий висуваючий апарат 3 з бункером 5 для насіння, сошником 10 і загортачем; в задній частині - колесо, що прикочує 13, а також рукоятки 1, які за допомогою болтового з'єднання приєднані до рами. У задній частині рами встановлено маркер.

Висівний апарат представляє собою корпус, на якому змонтовані: бункер для насіння 5 з поворотним диском 2 в задній частині, сошник 10 із сім'япроводом, щітковий мexанізм 3 з приводом клапана 11 сошника, загортач.
Безналичный расчёт
Наложенный платеж
Новая Почта
Интайм