Описание Предназначение пенного маркера — это маркировка краев, во
время опрыскивания штанговыми полевыми опрыскивателями. Пена может
сохраняться до 3-х часов. Одна заправка бака опрыскивателя пенным
маркером позволяет продолжать непрерывную работу в течении 260-300
мин. Техническое описание пенного маркера (ПМ 26.000.000 ТО)
поставляется в собранном виде (согласно комплектующей ведомости):
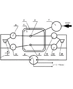
Рама емкостью 26 литров (позиция 1) крепится к раме (позиция 2) с
подсоединенной воздушной системой регулировки, гидравлической
системой регулировки и электрической системой управления. Воздушная
система регулировки состоит из: крана расхода воздуха (позиция 3),
редуктора , который подает воздух (позиция 4) и шлангов их
соединяющих. Воздушная система присоединяется к воздушному
компрессору агрегата. Гидравлическая система регулировки состоит
из: крана расхода жидкости (позиция 5) и шлангов соединяющих.
Электрическая система управления состоит из: жидкости и 4-х
электрических клапанов контроля за расходом воздуха по одному на
каждую сторону (позиции 6, 11-13), к которым подсоединяются
электрический жгут (позиция 7) и соединительные шланги
гидравлической и воздушной систем. Жгут (позиция 7) соединяется с
источником постоянного тока U= 12-15 В на агрегате. Управляется
тумблером (позиция 8), который имеет три положения: «наконечник
пенообразующий правый», «наконечник пенообразующий левый» и
«выключено».Гидравлическая и воздушная системы присоединяются к
наконечникам образующим пену: левому (позиция 9) и правому (позиция
10) через клапаны электрические (позиции 6, 11-13) двойными
шлангами от итальянской фирмы «ARAG».Принцип работы ПМ состоит в
следующем:Воздух от компрессора попадает в бак через редуктор
подающий воздух, который обязательно герметически закрыт. В баке
допускается избыточное давление не более чем 1 атмосфера.
Дозированными порциями жидкость и воздух и подаются по соединяющим
шлангам в наконечники образующие пену, где образуются пенные
«шапки». Частоту образования таких «шапок» регулируют краном
расхода жидкости (позиция 5). В следствии чего, на поле появляется
видимая четкая линия границы обработки поля. Последовательность
установки и сборки пенного маркера: При помощи трех болтов
устанавливаем раму (позиция 2) и бак (позиция 1) на опрыскиватель.
Подсоединяем наконечники образующие пену к краям штанги (левому и
правому) закрепленных на концах кронштейнах. Подсоединяем шланги
подающие жидкость и воздух одним концом к наконечникам образующим
пену, а другим концом — к электроклапанам. ВНИМАНИЕ! Подсоединять
жидкость к жидкости и воздух к воздуху. Перед подсоединением
шлангов к клапанам и наконечникам образующим пену шланги нужно
подогреть, предварительно разъединив их по концам на 5-7см. Завести
тумблер (позиция 8) в кабину агрегата и там закрепить. Жгут
электрический присоединить в тракторе к источнику постоянного тока
с напряжением 12-15 В. Редуктор подключить к ресиверу — тракторной
воздушной магистрали. Первый запуск: Заливаем рабочую жидкость в
соответствии с таблицей расходов ПАВ. ВНИМАНИЕ! ПАВ добавляются
только в воду отфильтрованную. Перед тем как заливать жидкость —
убедитесь в абсолютной чистоте бака. При необходимости прополощите
бак простой чистой водой. Закройте бак (позиция 1). Закройте краны
расхода жидкости и воздуха (позиции 3 и 5). Поставьте тумблер
(позиция 8) в положение «выключено». Подайте воздух. Откройте на
два оборота кран расхода воздуха (позиция 3). Откройте на два
оборота кран расхода жидкости (позиция 5). Поставьте тумблер
(позиция 8) в положение «наконечник пенообразующий левый». Не
беспокойтесь, пена появится не сразу. Прежде чем шланг заполнится
жидкостью пройдет 2-3 минуты. При закрытии крана расхода жидкости
(позиция 5) установите нужную скорость образования пены (частота
создания 1 пенной «шапки» — от 5 до 10 сек). Поставьте тумблер
(позиция 8) в положение «наконечник пенообразующий правый».
Дождитесь появления пены. На любом из наконечников образующих пену
регулировка скорости образования пены делается только один раз.
ВОДА (чистая) ПАВ (2 — 3% от объема воды) 5 л 100 – 150 мл 10 л 200
– 300 мл 15 л 300 – 450 мл 20 л 400 – 600 мл 25 л 475 – 715 мл
Таблица расхода ПАВ (пенное активное вещество производства фирмы “
Geo Line ”) Рекомендуемую норму расхода ПАВ можно уменьшать до 50%
в зависимости от состояния поверхности поля и его влажности. Схема
пенного маркера (Обозначения): Емкость 26 л Рама ран расхода
воздуха Редуктор для подачи воздуха Кран расхода жидкости Клапан
контроля расхода воздуха Электрожгуты Тумблер Левый пенообразующий
наконечник Правый пенообразующий наконечник Клапан контроля расхода
жидкости Клапан контроля расхода воздуха Клапан контроля расхода
жидкости Возможные неисправности и их причины: Неисправность
Возможная причина возникновения Способ устранения 1. Не работают
электроклапана — низкое напряжение в сети — залипание штока
электроклапана — сгорание обмотки электроклапана — напряжение в
сети обеспечить не менее 12 В- поместить в воду на 5 мин. —
заменить 2. Пена плохо образуется, не шапкообразная — не хватает
воздуха — пенный агент (ПАВ) низкого качества — проверить
магистраль подачи воздуха, устранить перегибы — заменить ПАВ 3. При
открытии крана жидкости по концам течет жидкость вместо пены — нет
воздуха, плохая подача — разрушилась или состарилась губчатая
вставка в пенообразующем наконечнике — проверить шланг — заменить
(имеется в ЗИП) Гарантийные обязательства: Предприятие –
изготовитель гарантирует исправную работу пенного маркера при
условии соблюдения потребителем правил эксплуатации и хранения,
изложенных в настоящей инструкции.Гарантийный срок эксплуатации
устанавливается 12 месяцев со дня передачи по накладной.

![]()
![]()